VS 4.750-Hex Swinging-Bucket Rotor

Product No:C63143

The VS 4.750-Hex is a four-place swinging-bucket rotor for the Allegra V-15R benchtop centrifuge designed to centrifuge 100 x 10 mL tubes.



Rotor buckets carry adapters that allow centrifugation of a wide range of tube and bottle sizes (from 1.5 mL reaction vials to maximum volume of supported tube) for rapidly sedimenting protein precipitates, large particles, cells, and cell debris.

Product Specifications

Platform Allegra
Rotor Type Swinging-Bucket
Angle 90°
Maximum RPM 4,300 rpm (120V), 4,700 rpm (200-240V)
Max g-Force 4,478 xg
Adapters B30603, B32766, B32767
Number of Tubes 100 x 10 mL (16 mm), 144 x 7 mL (7 mm tubes)
Nominal Capacity 1000mL
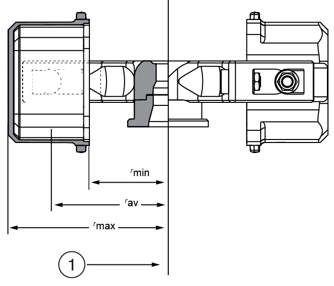
rMAX 181
rMIN 110
rAV 145.5 mm
BioSafe No
Materials Anodized Aluminum
Package Quantity 1